Iklan
Pertanyaan
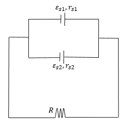
Perhatikan gambar berikut!

Diketahui bahwa dan . Nilai hambatan dalam masing-masing adalah dan . Jika nilai , kuat arus yang mengalir dalam rangkaian adalah ….
1 A
2 A
3 A
4 A
6 A
Iklan
M. Robo
Master Teacher
3
0.0 (0 rating)
Iklan
RUANGGURU HQ
Jl. Dr. Saharjo No.161, Manggarai Selatan, Tebet, Kota Jakarta Selatan, Daerah Khusus Ibukota Jakarta 12860
Produk Ruangguru
Bantuan & Panduan
Hubungi Kami
©2026 Ruangguru. All Rights Reserved PT. Ruang Raya Indonesia