Iklan

Pertanyaan

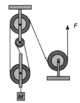
Perhatikan sistem katrol di samping! Sistem diinginkan dalam keadaan seimbang dan berat katrol diabaikan. Berapakah berat beban M jika F = 30 N?

Perhatikan sistem katrol di samping!

Sistem diinginkan dalam keadaan seimbang dan berat katrol diabaikan. Berapakah berat beban M jika F = 30 N?

Ikuti Tryout SNBT & Menangkan E-Wallet 100rb

Habis dalam

02

:

03

:

37

:

53

Klaim

Iklan

N. Puspita

Master Teacher

Jawaban terverifikasi

Jawaban

berat beban 90 N.

berat beban 90 N.

Pembahasan

Pembahasan
lock

Diketahui Ditanya Berat beban? Penyelesaian Jenis katrol pada soal adalah katrol ganda. Katrol ganda, memiliki keuntungan mekanis sama dengan banyak tali atau rantai yang menghubungkan katrol ke katrol. Berdasarkan gambar banyak tali yang menghubungkan katrol adalah 3, sehingga keuntungan mekanisnya = 3. Katrol kanan aadalah katrol tetap sehingga hanya merubah arah tidak mempengaruhi keuntungan mekanis Dengan menggunakan persamaan keuntungan mekanis, maka berat beban: K M 3 ​ w ​ = = = = ​ F w ​ 30 w ​ 30 ⋅ 3 90 N ​ Jadi, berat beban 90 N.

Diketahui

F equals 30 space straight N 

Ditanya
Berat beban?

Penyelesaian
Jenis katrol pada soal adalah katrol ganda. Katrol ganda, memiliki keuntungan mekanis sama dengan banyak tali atau rantai yang menghubungkan katrol ke katrol. Berdasarkan gambar banyak tali yang menghubungkan katrol adalah 3, sehingga keuntungan mekanisnya = 3. Katrol kanan aadalah katrol tetap sehingga hanya merubah arah tidak mempengaruhi keuntungan mekanis
Dengan menggunakan persamaan keuntungan mekanis, maka berat beban:

 

Jadi, berat beban 90 N.

Perdalam pemahamanmu bersama Master Teacher
di sesi Live Teaching, GRATIS!

11

Della Sabrina

Ini yang aku cari!

Iklan

Pertanyaan serupa

Perhatikan gambar di atas. Untuk menarik beban 2.400 N, diperlukan gaya tarik F minimum sebesar ....

8

5.0

Jawaban terverifikasi

RUANGGURU HQ

Jl. Dr. Saharjo No.161, Manggarai Selatan, Tebet, Kota Jakarta Selatan, Daerah Khusus Ibukota Jakarta 12860

Coba GRATIS Aplikasi Roboguru

Coba GRATIS Aplikasi Ruangguru

Download di Google PlayDownload di AppstoreDownload di App Gallery

Produk Ruangguru

Hubungi Kami

Ruangguru WhatsApp

+62 815-7441-0000

Email info@ruangguru.com

[email protected]

Contact 02130930000

02130930000

Ikuti Kami

©2025 Ruangguru. All Rights Reserved PT. Ruang Raya Indonesia