Iklan

Pertanyaan

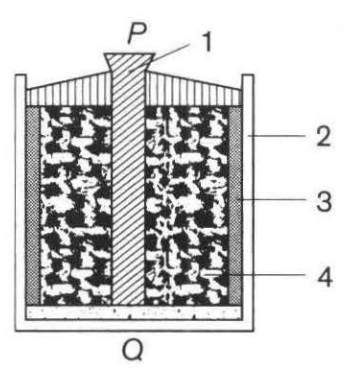
Perhatikan gambar sebuah baterai berikut! Apakah bahan dari 1, 2, 3, dan 4? Tuliskan fungsinya masing-masing?

Perhatikan gambar sebuah baterai berikut!

Apakah bahan dari 1, 2, 3, dan 4? Tuliskan fungsinya masing-masing?

Ikuti Tryout SNBT & Menangkan E-Wallet 100rb

Habis dalam

01

:

16

:

03

:

31

Klaim

Iklan

Y. Maghfirah

Master Teacher

Jawaban terverifikasi

Pembahasan

Berikut ini adalah bahan - bahan bagiandari baterai yang terseusun seperti pada gambar Batang karbon sebagai katoda (elektrode positif) Zink (seng) sebagai anoda (elektrode negatif). Amonium klorida sebagai elektrolit. Mangan dioksida dan serbuk karbon sebagai depolarisator (zat pelindung elektrolit agar tidak mengalami polarisasi)

Berikut ini adalah bahan - bahan bagian dari baterai yang terseusun seperti pada gambar

  1. Batang karbon sebagai katoda (elektrode positif)
  2. Zink (seng) sebagai anoda (elektrode negatif).
  3. Amonium klorida sebagai elektrolit. 
  4. Mangan dioksida dan serbuk karbon sebagai depolarisator (zat pelindung elektrolit agar tidak mengalami polarisasi)space 

Perdalam pemahamanmu bersama Master Teacher
di sesi Live Teaching, GRATIS!

1

Iklan

Pertanyaan serupa

Perhatikan gambar berikut! Elektron mengalir dari...

4

4.1

Jawaban terverifikasi

RUANGGURU HQ

Jl. Dr. Saharjo No.161, Manggarai Selatan, Tebet, Kota Jakarta Selatan, Daerah Khusus Ibukota Jakarta 12860

Coba GRATIS Aplikasi Roboguru

Coba GRATIS Aplikasi Ruangguru

Download di Google PlayDownload di AppstoreDownload di App Gallery

Produk Ruangguru

Hubungi Kami

Ruangguru WhatsApp

+62 815-7441-0000

Email info@ruangguru.com

[email protected]

Contact 02130930000

02130930000

Ikuti Kami

©2026 Ruangguru. All Rights Reserved PT. Ruang Raya Indonesia