Iklan

Pertanyaan

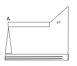
Perhatikan gambar di bawah ini ! Batang homogen bermassa m, dalam kondisi setimbang seperti gambar di atas. Dengan percepatan gravitasi g, Besar Tegangan taliyang dialami tiang penumpu terhadap titik tancapnya A adalah ... N.

Perhatikan gambar di bawah ini !

  

Batang homogen bermassa m, dalam kondisi setimbang seperti gambar di atas. Dengan percepatan gravitasi g, Besar Tegangan tali yang dialami tiang penumpu terhadap titik tancapnya A adalah ... N.

  1. begin mathsize 14px style mg end style 

  2. begin mathsize 14px style table attributes columnalign right center left columnspacing 0px end attributes row blank blank cell mg over 2 end cell end table end style 

  3. table attributes columnalign right center left columnspacing 0px end attributes row blank blank cell 1 over size 14px 6 end cell end table table attributes columnalign right center left columnspacing 0px end attributes row blank blank size 14px m end table table attributes columnalign right center left columnspacing 0px end attributes row blank blank size 14px g end table 

  4. table attributes columnalign right center left columnspacing 0px end attributes row blank blank cell size 14px 5 over size 14px 6 end cell end table table attributes columnalign right center left columnspacing 0px end attributes row blank blank size 14px m end table table attributes columnalign right center left columnspacing 0px end attributes row blank blank size 14px g end table 

  5. begin mathsize 14px style table attributes columnalign right center left columnspacing 0px end attributes row blank blank cell 6 over 5 end cell end table table attributes columnalign right center left columnspacing 0px end attributes row blank blank m end table table attributes columnalign right center left columnspacing 0px end attributes row blank blank g end table end style 

Ikuti Tryout SNBT & Menangkan E-Wallet 100rb

Habis dalam

02

:

21

:

41

:

01

Klaim

Iklan

F. Zahara

Master Teacher

Jawaban terverifikasi

Jawaban

jawaban yang tepat adalah D.

jawaban yang tepat adalah D.

Pembahasan

Gaya-gaya yang bekerja pada sistem tersebut dapat digambarkan sebagai berikut. Gaya vertikal yang dialami tiang karena menahan beban reklame adalah tegangan tali (T) : Jadi, jawaban yang tepat adalah D.

Gaya-gaya yang bekerja pada sistem tersebut dapat digambarkan sebagai berikut.

  

Gaya vertikal yang dialami tiang karena menahan beban reklame adalah tegangan tali (T) :

    undefined     

Jadi, jawaban yang tepat adalah D.

Perdalam pemahamanmu bersama Master Teacher
di sesi Live Teaching, GRATIS!

1

Iklan

Pertanyaan serupa

Suatu benda yang bergerak rotasi dengan kecepatan sudut tetap atau tidak bergerak rotasi memiliki karakteristik ….

1

5.0

Jawaban terverifikasi

RUANGGURU HQ

Jl. Dr. Saharjo No.161, Manggarai Selatan, Tebet, Kota Jakarta Selatan, Daerah Khusus Ibukota Jakarta 12860

Coba GRATIS Aplikasi Roboguru

Coba GRATIS Aplikasi Ruangguru

Download di Google PlayDownload di AppstoreDownload di App Gallery

Produk Ruangguru

Hubungi Kami

Ruangguru WhatsApp

+62 815-7441-0000

Email info@ruangguru.com

[email protected]

Contact 02130930000

02130930000

Ikuti Kami

©2026 Ruangguru. All Rights Reserved PT. Ruang Raya Indonesia