Iklan

Pertanyaan

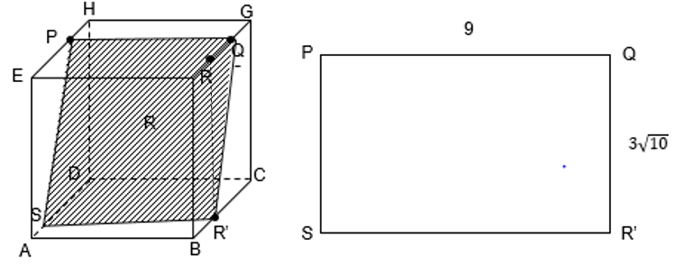
Pada kubus ABCD.EFGH dengan panjang rusuk 9 cm. Titik P pada EH dengan perbandingan EP : EH = 2 : 3, titik Q pada FG dengan perbandingan FQ : QG = 2 : 1. Titik R terletak pada garis FG dengan perbandingan FR : RG = 1 : 2, lalu titik R’ adalah proyeksi R pada ABCD. Luas irisan bidang pada kubus yang melalui titik PQR’ adalah… c m 2

Pada kubus ABCD.EFGH dengan panjang rusuk 9 cm. Titik P pada EH dengan perbandingan EP : EH = 2 : 3, titik Q pada FG dengan perbandingan FQ : QG = 2 : 1. Titik R terletak pada garis FG dengan perbandingan  FR : RG = 1 : 2, lalu titik R’ adalah proyeksi R pada ABCD. Luas irisan bidang pada kubus yang melalui titik PQR’ adalah… 

  1. 18 square root of 10

  2. 27 square root of 10

  3. 36 square root of 10

  4. 45 square root of 10

  5. 54 square root of 10

Ikuti Tryout SNBT & Menangkan E-Wallet 100rb

Habis dalam

02

:

04

:

37

:

44

Klaim

Iklan

N. Ayu

Master Teacher

Mahasiswa/Alumni Universitas Negeri Padang

Jawaban terverifikasi

Pembahasan

Titik S adalah titik irisan bidang pada garis AD. EP : EH = 2 : 3, artinya panjang , maka PH = 3 FQ : QG = 2 : 1, artinya panjang , maka FQ = 6 FR : RG = 1 : 2, artinya panjang , maka RQ = 3 Dengan menggunakan segitiga R’RQ (dimana segitiga tersebut siku – siku) Sehingga, luas irisan bidang tersebut adalah: Luas =panjang x lebar

Titik S adalah titik irisan bidang pada garis AD.

EP : EH = 2 : 3, artinya panjang E P equals 2 over 3 E H equals 2 over 3.9 equals 6, maka PH = 3

FQ : QG = 2 : 1, artinya panjang Q G equals 1 third F G equals 1 third.9 equals 3, maka FQ = 6

FR : RG = 1 : 2, artinya panjang F R equals 1 third F G equals 1 third.9 equals 3, maka RQ = 3

 

Dengan menggunakan segitiga R’RQ (dimana segitiga tersebut siku – siku)

table attributes columnalign right center left columnspacing 0px end attributes row cell Q R apostrophe end cell equals cell square root of open parentheses R apostrophe R close parentheses squared plus open parentheses R Q close parentheses squared end root end cell row cell Q R apostrophe end cell equals cell square root of 9 squared plus 3 squared end root end cell row blank equals cell 3 square root of 10 end cell end table

Sehingga, luas irisan bidang tersebut adalah:

Luas = panjang x lebar

        equals P Q cross times Q R apostrophe equals 9 cross times 3 square root of 10 equals 27 square root of 10 space cm  

Perdalam pemahamanmu bersama Master Teacher
di sesi Live Teaching, GRATIS!

1

Iklan

Pertanyaan serupa

Diketahui kubus ABCD.EFGH dengan rusuk 6 cm. Cosinus sudut antara bidang BDG dan BDE adalah …

1

0.0

Jawaban terverifikasi

RUANGGURU HQ

Jl. Dr. Saharjo No.161, Manggarai Selatan, Tebet, Kota Jakarta Selatan, Daerah Khusus Ibukota Jakarta 12860

Coba GRATIS Aplikasi Roboguru

Coba GRATIS Aplikasi Ruangguru

Download di Google PlayDownload di AppstoreDownload di App Gallery

Produk Ruangguru

Hubungi Kami

Ruangguru WhatsApp

+62 815-7441-0000

Email info@ruangguru.com

[email protected]

Contact 02130930000

02130930000

Ikuti Kami

©2026 Ruangguru. All Rights Reserved PT. Ruang Raya Indonesia