Iklan

Pertanyaan

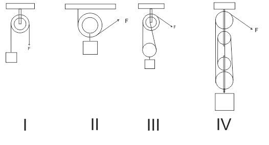
Berdasarkan keempat katrol di bawah ini, yang memiliki keuntungan mekanis paling besar adalah ...

Berdasarkan keempat katrol di bawah ini, yang memiliki keuntungan mekanis paling besar adalah ...

  1. I

  2. II

  3. III

  4. IV

Ikuti Tryout SNBT & Menangkan E-Wallet 100rb

Habis dalam

02

:

07

:

21

:

19

Klaim

Iklan

E. Dwihermiati

Master Teacher

Mahasiswa/Alumni Universitas Pendidikan Indonesia

Jawaban terverifikasi

Pembahasan

Katrol space straight I space adalah space katrol space tetap comma space sehingga space keuntungan space mekanisnya space adalah space 1. space space Katrol space II space adalah space katrol space bebas space tunggal comma space sehingga space keuntungan space mekanisnya space adalah space 2. space space Katrol space III space adalah space katrol space majemuk space dengan space 2 space tali space penopang space beban comma space sehingga space keuntungan space mekanisnya space adalah space 2. space space space Katrol space III space adalah space katrol space majemuk space dengan space 4 space tali space penopang space beban comma space sehingga space keuntungan space mekanisnya space adalah space 4. space

Perdalam pemahamanmu bersama Master Teacher
di sesi Live Teaching, GRATIS!

1

Pahmig

Jawaban tidak sesuai

Iklan

Pertanyaan serupa

Keuntungan mekanik katrol majemuk sebesar ...

1

2.0

Jawaban terverifikasi

RUANGGURU HQ

Jl. Dr. Saharjo No.161, Manggarai Selatan, Tebet, Kota Jakarta Selatan, Daerah Khusus Ibukota Jakarta 12860

Coba GRATIS Aplikasi Roboguru

Coba GRATIS Aplikasi Ruangguru

Download di Google PlayDownload di AppstoreDownload di App Gallery

Produk Ruangguru

Hubungi Kami

Ruangguru WhatsApp

+62 815-7441-0000

Email info@ruangguru.com

[email protected]

Contact 02130930000

02130930000

Ikuti Kami

©2026 Ruangguru. All Rights Reserved PT. Ruang Raya Indonesia